News Flash Home
The original item was published from 10/22/2019 7:56:56 PM to 11/16/2019 12:00:08 AM.

News Flash

City of Pierre News

Posted on: October 22, 2019

[ARCHIVED] CITY OWNED LOT FOR SALE

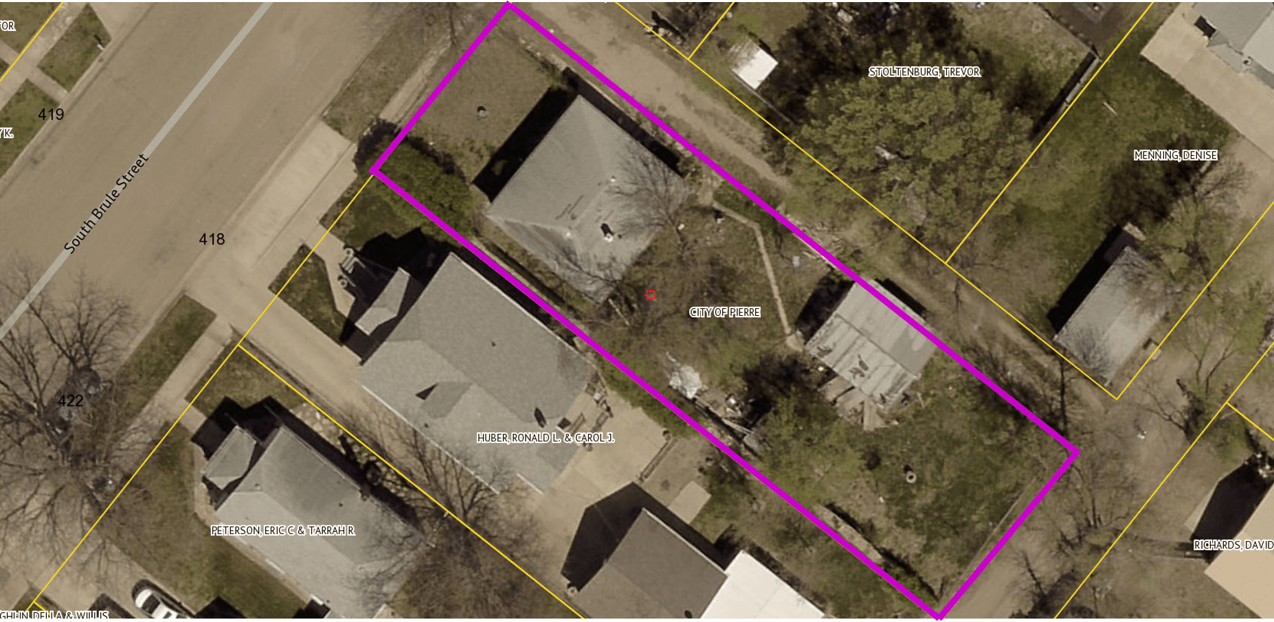
SURPLUS PROPERTY MAP

City Owned Lot for Sale

Tonight,  the Pierre City Commission approved a request to surplus a City-owned lot and sell it by sealed bid.

That 9,500 sq. ft. residential lot is located at 412 S. Brule Street. According to John Childs, City Engineer, the City acquired the lot last year with the intent of rehabbing it and then returning it to the market.

The City partnered with Hughes County to acquire the property using the tax for deed process. The City then razed a condemnable structure that was on the property, installed a new water service line, and did some other minor work to clean up the space.

“Our goal with this project is multifaceted,” said Childs. “First we wanted to remove a nuisance property; second, we wanted to add to the inventory of buildable lots in Pierre; and third, we wanted this lot to provide tax revenue for our schools and our local governments.”

The goal of removing a nuisance property has already been achieved. Childs says that the City is hopeful the other two goals will be met with the sale of the property.

Sealed bids will be accepted between Friday, Oct. 25 and Thursday, Nov. 14. Bids are scheduled to be open on Nov. 14 at 1:30 p.m. (CT) at Pierre City Hall. Bid documents will be available at cityofpierre.org beginning Oct. 25. For more information call City Hall at 605.773.7407 or visit cityofpierre.org and enter “bids” into the search bar.




Facebook Twitter Email